夹具偏置介绍

您正在查看预发布版本(V2.2.0)的文档。如果您想查阅其他版本的文档,可以点击页面右上角“切换版本”按钮进行切换。

■ 如果您不确定当前使用的产品是哪个版本,请随时联系梅卡曼德技术支持

本节介绍夹具偏置的概念,以及偏置的作用和缺点。

偏置的概念

夹具偏置是指夹具的一种结构形式,下文将分两种情况介绍夹具偏置。

  • 水平方向上的坐标偏置

    机器人抓取工件时,机器人法兰位姿与抓取点在铅锤方向有一定的水平距离(偏置半径)。如下图所示,1 为机器人,2 为抓取点,r 为偏置半径。

gripper offset 1
  • TCP朝向(角度)的偏置

    对于某些场景,夹具末端的抓取面也可以与机器人法兰安装面呈一定角度,以增大偏置幅度。如下图所示,1 为机器人,2 为夹爪。

gripper offset 2

偏置的作用

夹具偏置通过在设计中预设位置或角度差,帮助机器人优化抓取姿态、避免干涉,并提升复杂工况下的抓取灵活性与效率。

规避腕部奇异点

实际项目中工件的来料形式多样,或来料时工件的姿态无法控制,夹具若无偏置,则规划的机器人抓取位姿可能产生奇异点,如下图所示。

gripper offset function 1 1

此时需使机器人法兰位姿与抓取点不在同一铅锤线上。

提高极限空间的抓取成功率(即提高清筐率)

某些情况下,客户对清筐率有较高要求,但面临空间狭小、夹具尺寸大或形状特殊,以及特殊位置的工件难以抓取等挑战。使用无偏置夹具抓取工件时,夹具易与周围场景发生碰撞。如下图所示。

gripper offset function 2 1

此时需对夹具进行偏置处理(下图绿色部分),以便抓取角落处的工件。如下图所示,1 为加长臂,2 为缓冲装置,3 为传感器安装座,4 为夹持气缸,5 为夹指,6 为指套,7 为传感器。

gripper offset function 2 2

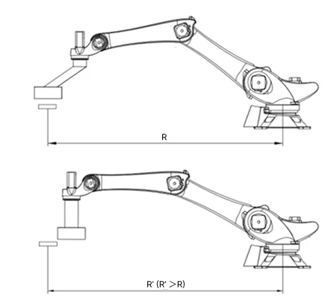
增大抓取半径

机器人型号、工位实际情况与抓取半径的需求不匹配时,可通过夹具偏置对抓取半径进行延伸。

gripper offset function 3

偏置的缺点

设置夹具偏置时还需考虑以下缺点,并进行抓取验证。

机器人可用负载变小

需根据机器人本体的负载曲线图以及夹具偏置量检查机器人实际可用负载,确保偏置后的实际可用负载满足项目抓取要求。

下图为某机器人末端负载曲线变化图,其中 Lxy 表示法兰坐标系下沿 X/Y 轴的偏置,Lz 表示法兰坐标系下沿 Z 轴的偏置。

当偏置大于 250 mm 后,机器人负载衰减严重。但若偏置小于 170 mm,沿 Z 轴增加至 400 mm,仍能保持可用负载。

gripper offset shortcoming 1

抓放特定姿态工件时受限

实际场景中,当工件在 Z 轴方向非 180° 对称,且工件抓放有朝向要求时,如果夹具存在偏置,则工件抓放将会受限。

例如,物流出库时,为方便人工扫码和拣货,时常要求纸箱条码必须朝外。若此时要求夹具的特定边与产品的特定面贴合,机器人在可达范围极限位置抓放时,可能由于夹具偏置而导致抓放无法完成。

夹具夹紧时,难以确定 TCP

夹具夹紧处的 TCP 为两夹块的对称中心,夹具偏置后,不易在机器人端设置 TCP。

如下图所示,其中 1 为夹块,2 为夹具夹紧处的 TCP。

gripper offset shortcoming 3

该页面是否有帮助?

可以通过以下方式反馈意见:

我们重视您的隐私

我们使用 cookie 为您在我们的网站上提供最佳体验。继续使用该网站即表示您同意使用 cookie。如果您拒绝,将使用一个单独的 cookie 来确保您在访问本网站时不会被跟踪或记住。