그리퍼 옵셋 소개

현재 최신 버전 (2.1.2)에 대한 매뉴얼을 보고 계십니다. 다른 버전에 액세스하려면 페이지 오른쪽 상단 모서리에 있는 '버전 전환' 버튼을 클릭하세요.

■ 현재 사용하고 있는 제품의 버전이 확실하지 않은 경우에는 언제든지 당사 기술 지원팀에 문의하시기 바랍니다.

이 섹션에서는 그리퍼 옵셋의 개요와 기능 및 단점을 소개합니다.

옵셋이란?

그리퍼 옵셋이란 그리퍼의 구조적 형태를 의미합니다. 아래에서는 두 가지 상황으로 나누어 그리퍼 옵셋을 설명하겠습니다.

  • 수평 방향에서의 좌표 옵셋

    로봇이 대상 물체를 피킹할 때, 로봇의 플랜지 포즈와 픽 포인트가 추의 수직선 방향에서 일정한 수평 거리를 가질 수 있습니다(옵셋 반경). 아래 그림에서, 1은 로봇, 2는 픽 포인트, r은 옵셋 반경을 나타냅니다.

gripper offset 1
  • TCP 방향(각도)의 옵셋

    일부 상황에서는 그리퍼 끝의 피킹 면이 로봇 플랜지 설치 면과 일정 각도를 이뤄 옵셋 범위를 더욱 늘릴 수 있습니다. 아래 그림에서, 1은 로봇, 2는 그리퍼를 나타냅니다.

gripper offset 2

옵셋의 기능

그리퍼 옵셋은 설계 시 위치나 각도 차이를 미리 정의하여, 로봇 피킹 포즈를 최적화하고 간섭을 피하며 복잡한 상황에서 유연성과 효율성을 향상시키는 데 도움이 됩니다.

로봇 손목 관절의 싱귤래리티 회피

실제 프로젝트에서 대상 물체가 들어오는 방식은 매우 다양하며, 대상 물체의 포즈를 제어할 수 없는 경우도 많습니다. 그리퍼에 옵셋이 없으면 로봇이 피킹하기 위해 설정한 포즈가 싱귤래리티에 걸릴 수 있습니다.

gripper offset function 1 1

아래 그림과 같이, 이때 로봇의 플랜지 포즈와 픽 포인트가 동일한 수직선 상에 있지 않도록 해야 합니다.

극한 공간에서의 피킹 성공률 향상

일부 상황에서는 고객사는 높은 피킹 성공률을 요구하지만, 공간이 좁거나 그리퍼 크기가 크거나 대상 물체의 모양이 특수한 경우, 혹은 특정 위치에 있는 대상 물체를 피킹하기 어려운 문제가 발생할 수 있습니다. 이때 옵셋이 없는 그리퍼를 사용하면 그리퍼가 주변 물체와 충돌할 가능성이 큽니다. 아래 그림과 같습니다.

gripper offset function 2 1

이때 그리퍼에 옵셋을 적용(아래 그림의 녹색 부분)하여 모서리에 있는 대상 물체를 피킹할 수 있도록 합니다. 아래 그림에서, 1은 연장 팔, 2는 완충 장치, 3은 센서 설치대, 4는 그리퍼의 공압 실린더, 5는 그리퍼 핑거, 6은 그리퍼 핑거 슬리브, 7은 센서를 나타냅니다.

gripper offset function 2 2

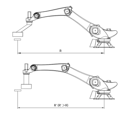
피킹 반경 확대

로봇 모델, 워크스테이션의 실제 상황과 요구되는 피킹 반경이 일치하지 않을 경우, 그리퍼 옵셋을 통해 피킹 반경을 확대할 수 있습니다.

gripper offset function 3

옵셋의 단점

그리퍼 옵셋을 설정할 때 다음 단점을 고려하고 피킹 검증을 해야 합니다.

로봇 사용 가능한 페이로드 감소

로봇의 실제 가능한 페이로드는 로봇 본체의 페이로드 곡선과 그리퍼 옵셋에 따라 달라지며, 옵셋 페이로드가 프로젝트의 피킹 요구 사항을 충족할 수 있는지 반드시 검증해야 합니다.

아래 그림은 로봇 말단에서의 페이로드 곡선 변화를 보여줍니다. Lxy는 플랜지 기준 좌표계에서 X/Y축 방향의 옵셋을 나타내며, Lz는 플랜지 기준 좌표계에서 Z축 방향의 옵셋을 나타냅니다.

옵셋이 250mm보다 크면 로봇의 페이로드가 급격히 감소합니다. 그러나 옵셋이 170mm 미만이고 Z축을 따라 400mm로 증가하면 페이로드는 여전히 ​유지될 수 있습니다.

gripper offset shortcoming 1

특정 포즈의 대상 물체 피킹 및 배치 시 제한

실제 시나리오에서 대상 물체가 Z축을 기준으로 180° 대칭이 아니고 대상 물체의 포즈 요구가 있는 경우, 그리퍼에 옵셋이 있으면 대상 물체의 피킹 및 배치가 제한됩니다.

예를 들어 물류 출고 시나리오에서는 상자의 바코드가 수동 스캔 및 피킹을 위해 바깥쪽을 향하도록 요구되는 경우가 많습니다. 그리퍼가 특정 변을 상자의 지정된 면과 정렬해야 하는 경우, 로봇이 도달 범위의 한계 위치에서 피킹·배치를 수행할 때 그리퍼 옵셋으로 인해 작업이 완료되지 못할 수 있습니다.

그리퍼 클램핑 중 TCP를 결정하기 어려움

그리퍼 클램핑 포인트의 TCP는 두 클램핑 블록 사이의 대칭 중심에 위치합니다. 그러나 그리퍼에 옵셋이 발생한 후에는 로봇에서 TCP를 설정하기가 어렵습니다.

아래 그림에서, 1은 그리퍼 블록, 2는 그리퍼 클램핑 포인트의 TCP를 나타냅니다.

gripper offset shortcoming 3

이 페이지가 도움이 되었습니까?

다음 방법을 통해 피드백을 보내주실 수 있습니다:

저희는 귀하의 개인정보를 소중히 다룹니다.

당사 웹사이트는 최상의 사용자 경험을 제공하기 위해 쿠키를 사용하고 있습니다. "모두 수락"을 클릭하시면 쿠키 사용에 동의하시는 것이며, "모두 거부"를 클릭하시면 이 웹사이트 방문 시 귀하의 정보가 추적되거나 기억되지 않도록 단일 쿠키만 사용됩니다.